负债千亿!苏宁宣告破产!
一代零售巨头苏宁
走向落幕
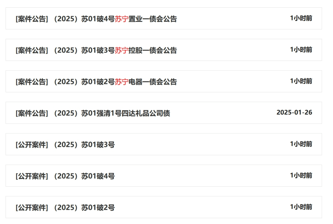
2月7日,全国企业破产重整案件信息网发布苏宁电器集团、苏宁控股集团、苏宁置业集团破产重整案件信息与一债会公告,三家公司于2025年1月26日由南京中院受理破产重整。


苏宁集团,曾是中国最好的零售商业之一。截至目前, 张近东已经执掌这个庞大的商业帝国长达 30余年,苏宁也从一家空调专营门市部发展到综合电器连锁,到互联网,线上零售平台,直至拥有线上线下各种类型的零售渠道。除了零售主业外,苏宁的投资版图更是遍布地产、物流、体育、电竞等行业。
苏宁电器集团和苏宁控股集团分别都是苏宁易购的股东。 截至2025年1月,苏宁电器集团持有苏宁易购1.4%的股份,苏宁控股集团持有2.75%的股份。苏宁电器集团和苏宁控股集团并非苏宁易购的控股股东或实际控制。
展开全文


根据公告,苏宁由于债务压力巨大、现金流紧张,不得不申请破产重整。简单来说,就是苏宁“钱不够了“,需要通过法律程序重新整理债务和资产,以求“活下去“。
苏宁为什么会走到这一步?
1.过度扩张的“后遗症”:苏宁近年来在零售、地产、金融等多个领域大举扩张,但很多业务并未带来预期收益,反而拖累了现金流。
2.电商冲击和自身转型不力:传统零售行业被电商冲击,苏宁虽然也尝试转型线上,但效果并不理想,市场份额逐渐被阿里、京东等巨头蚕食。
3.债务“滚雪球”:苏宁的债务规模越来越大,尤其是去年以来,多次传出“债务违约“的消息,最终导致资金链断裂。
据悉,截至2023年年报, 苏宁电器资产总额为1249.6亿元,归母净利润为-57.03亿,负债总额为1344.79亿元,同比下降了-5.71%。
来源:中国经济网、苏宁易购公告、21世纪经济报道、九派新闻、中国证券报
本报法律顾问:山东汇研律师事务所 王读文


评论